车轮定位检测有哪些,简述车轮定位一般步骤

来源:12123违章查询网    时间: 2023-03-05 05:15

汽车车轮定位的检测有静态检测法和动态检测法两种类型。静态检测法是在汽车停止的状态下,使用测量仪器对车轮定位进行几何角度的测量。动态检测是在汽车以一定车速行驶的状态下,用测量仪器检测车轮定位产生的侧向力或由此引起的车轮测滑量。动态检测的内容和方法将在本书第四章“汽车侧滑的检测与调整”中讲述。


(一)静态检测方法及定位仪的类型

车轮定位值的静态检测法,是根据车轮旋转平面与各定位角间存在的直接或间接的几何关系,用专用的检测设备测量其是否符合规定。使用的检测设备有气泡水准式、光学式、激光式、电子式和微机式等车轮定位仪。

气泡水准式定位仪由于具有结构简单、价格低廉、便于携带等优点,在国内获得广泛应用,但是也有安装和测试费时费力等缺点。

光学式车轮定位仪一般由转盘、支架、车轮镜和投光装置等组成。投光装置(由投光器和投影屏组成)也像水准仪一样安装在支架上,支架固定在轮辋上。该定位仪利用光学投影原理,将车轮纵向旋转平面与车轮定位的关系投影到带有指示刻度的投影屏上,从而测得车轮定位值。

激光式车轮定位仪的检测原理与光学式相同,只不过采用的是激光投影系统,因而在强烈的阳光下也能清楚地从投影屏读出测量数据。

电子式车轮定位仪则是在光学式和激光式的基础上,由投影屏刻度显示转变为显示屏数字显示。

微机式车轮定位仪比以上几种车轮定位仪先进,目前国内外生产的定位仪多以这种类型为主,且一般为四轮定位仪,可同时检测前、后轮的定位参数。微机式车轮定位仪由于采用微电脑技术和精密传感测量技术,并备有完整齐全的配套附件,所以具有测量准确和操作简便等优点。它一般由微机主机、显示器、操作键盘、转盘、支架、打印机和摇控器等组成,往往制成可移动台式。它由安装在车轮上的传感器把车轮定位角的几何关系转变成电信号,送入微机分析判断,然后由显示屏显示和打印机打印输出。测试过程中,可通过操作全功能红外线摇控器,在汽车的任何位置实现远距离的测试控制。


(二);气泡水准式定位仪及使用方法

1.气泡水准式定位仪结构简介

气泡水准定位仪按适用车型范围分为两种,一种适用于大、中、小型汽车,另一种仅适用于小型汽车。前者一般由水准仪、支架、转盘(转角仪)等组成,后者一般由水准仪和转盘组成。

(1)水准仪如图3-4所示,水准仪也分为两种,一种适用于大、中、小型汽车,另一种仅适用小型汽车。它们均由壳体、水泡管、水泡调节装置和刻度盘等组成。适用于大、中、小型汽车的水准仪带有两个定位锁,以便插入支架中心孔固装在支架上;适用于小型汽车的水准仪带有永久磁铁和定位针,可以对准转向节枢轴中心孔吸附在轮毂的端面上,因而省去了支架。

车轮定位检测有哪些,简述车轮定位一般步骤

图3-4;水准仪

a)适用于大、中、小型汽车的水准仪;b)适用于小型汽车的水准仪

1、3-定位锁;2-旋钮;4-永久磁铁;5-定位针;6-校正水平的水泡管;7-测量主锁后倾角的水泡和;

8-测量前轮外倾角的水泡管;9-测量主锁内倾角的水泡管

(2)支架支架是水准仪与轮辋之间的连接装置。支架固定在轮辋上,水准仪则插在支架的中心孔内,由锁紧螺钉锁住。支架有卡紧式和磁力式两种。

(3)转盘转盘一般由固定盘、活动盘、扇形刻度尺、游标指示针、锁止销和若干滚珠等组成。


2.气泡水准式定位仪使用方法

常见气泡水准定位仪的使用方法大同小异,下面以国产GCD-1型光束水准仪为例介绍使用方法。GCD-1型水准仪,除由一个水准仪、两个支架和两个转盘组成外,还配备有两个聚光器、两个标尺、两根标杆和一个踏板抵压器。聚光器在标杆配合下可测得车轮前束值,聚光器在标尺配合下可测得后轴与前轴间的平行度、后轴与车架间的垂直度及后轴与车架在水平平面的弯曲变形等。踏板抵压器可将制动踏板压住,省去人力。

(1)检测前的准备

汽车技术状况汽车轮胎及气压应符合规定。车轮轮辋轴承、转向节衬套与主锁的配合符合要求。汽车制动可靠。

检测场地要求检测场地水平且平整。检测时,应保证前后车轮接地面处于同一水平面上。

汽车摆放将汽车两前轮处于直驶位置,分别放置在各自的转盘上,并使主锁中心线的延长线通过转盘中心。确定前轮直驶位置后,将转盘扇形刻度尺调整到零位,对准游动指针,然后固定。当再转动转向盘时,前轮的转角可从转盘刻度尺上读取。

支架安装先将固定支架的两个固定脚卡在轮辋适当部位,再移动活动支架,使其固定脚也卡在轮辋上,然后用活动支架的偏心卡紧机构将三个固定脚卡紧在轮辋上。此时,三个固定脚的定位端面贴紧在轮辋的边缘上。松开调整支座弹性固定板的固定螺栓,使调整支座沿导轨滑动,通过特制芯棒使调整支座安装聚光器或水准仪的孔中心与前轮中心重合,然后拧紧螺栓,将调整支座固定于导轨上。经验表明,当支架中心与车轮中心偏离2~3mm时,对测量结果影响甚微,故也可以目视对中,而不使用芯棒。

轮辋变形的检查及补偿将聚光器定位销轴插入支座孔中,使销轴定位端面与支座定位端面贴合,然后拧紧弹簧卡固定螺钉,使聚光器不致于从支座上滑落。顶起被测车轮,使其离开转盘,当在其圆周上施力时能自由转动。将标杆以轮辋半径7倍的距离放在所测车桥之前或之后的地面上,一般而言,测前轮轮辋变形量时,可把标杆放于前桥之前;测后轮轮辋时,可把标杆放在后桥之后。将聚光器通以电源,聚光器发出强光束指针,转动聚光器的调节盘,使光束指针的扇形缺口朝上,调整聚光器伸缩套筒,使光束指针清晰地指在标杆上带有刻度的标牌上,用手把持聚光器,松开弹簧卡固定螺钉,缓慢转动车轮一周,读出光束指针指示的最大值与最小值,最大值与最小值之差即为轮辋端面的摆差。当摆差大于3mm时,一般认为轮辋是不合格的,应予更换。对于有摆差的车轮轮辋,为了消除对检测车轮定位角度值的影响,可转动调整支座上的滚花调节螺钉,直至光束指针指示的最大值与最小值之差在3mm之内为止。轮辋的变形补偿后,将车轮放回转盘上。


(2)前束值的检测

以前轮前束为例,讲述前束的检测方法。汽车两前轮放于转盘上,找正直驶位置后,在检测前束的过程中不得再转动转向盘。

调节标杆长度,使同一标杆两标牌之间的距离略大于被测轮距,并能使聚光器光束指针大致投射到标牌的中间位置。两套标杆一定要调整到等长,特别是标牌之间的距离一定要相等,否则将影响检测结果。

将已调好的两套标杆放置在被测车桥的前后两侧,并平行于该车桥。每一标杆距车轮中心的距离为车轮上规定前束测点处半径的7倍。车轮上规定前束测点依车型而定,有的测点在胎面中心处,有的测点在胎侧突出处,而有的测点在轮辋边缘处,检测前束应注意查阅汽车使用说明书。

先将车轮一侧聚光器的光束投向前标杆的标牌上,使光束指针指于某一整数位置上,如图3-5所示。再将该聚光器的光束向后投射到后标杆的标牌上,并平行移动后标杆使光束指针落在与前标牌同一数值上。然后,将另一侧聚光器分别向前标杆、后标杆投射光束,读出光束指针指示值,计算前束。若前标杆指示值为25mm,后标杆指示值为28mm,则前束值为28-25=3mm。若前标杆指示值为28mm,后标杆指示值为25mm,则前束值为-3mm,即为负前束。

汽车后轮前束的检测方法与此相同。

图3-5;检测车轮前束值1-支架;2-聚光器;3-标杆;4-转盘

(3)车轮外倾角的检测

在车轮保持直驶位置不动的情况下,将水准仪黑箭头指示的定位销插入车轮上支架的中心孔内,并使水准仪在左右方向上大致处于水平状态。轻轻拧紧弹簧卡锁紧螺钉,固定水准仪,如图3-6所示。

图3-6;检测车轮外倾角和主销后倾角

1-导轨;2-活动支架;3-调整支座;4-调节螺钉;5-固定脚;6-固定支架;7-水准仪;

8-A调节盘;9-BC调节盘;10-定位销;11-旋钮

转动水准仪上的A调节盘,直到对应气泡管内的气泡处于中间位置为止,然后在黑刻度盘上读出A盘红线所指角度值,该角度值即为前轮外倾角。用同样的方法可检测其他车轮的外倾角。


(4)主销后倾角的检测

前轮外倾角测定后,可不动水准仪,接着进行主销后倾角的检测。

将前轮向内转20°(左前轮向左转,右前轮向右转,下同),松开弹簧卡锁紧螺钉,使水准仪左右方向处于水平状态,然后拧紧锁紧螺钉。

转动水准仪上的BC调节盘,使其上红线与蓝、红、黄刻度盘零线重合。调整对应气泡管的旋钮,使气泡居中。

将前轮向相反方向转40°,转动BC盘使气泡管居中,在蓝盘上读出BC盘红线所示之值即为主销后倾角。


(5)主销内倾角的检测

检测前应使前轮处于制动状态,以防止转动转向盘时前轮滚动。

将红黄箭头所指的定位销插入支架中心孔内,轻轻拧紧锁紧螺钉,如图3-7所示。将被测前轮向内转20°,松开锁紧螺钉,使水准仪在左右方向上处于水平状态,然后拧紧锁紧螺钉。

转动BC调节盘,使其红色刻线与蓝、红、黄刻度盘零线重合。调节对应气泡管旋钮,使气泡居中。

将前轮向外转40°,调节BC盘使水泡管气泡居中。此时,BC盘红线在红刻度盘或黄刻度盘所示之值即为主销内倾角。检测左前轮时,在黄刻度盘上读数;检测右前轮时,在红刻度盘上读数。

图3-7;检测主销内倾角

1-水泡管;2-定位销;3-旋钮;4-调节螺钉;5-导轨;6-活动支架;7、9-固定脚;

8-调整支座;10-BC调节盘;11-A调节盘;12-水准仪

(6)前轮最大转角的检测

前轮最大转角是指前轮处于直线行驶位置时,分别向左、右转至极限位置的角度。

前轮处于直驶位置,置转盘扇形刻度尺于零位并固定。

转动转向盘,使前轮向任一侧至极限位置,从扇形刻度尺上读出的数值,即为该侧最大转角,同理可测出转向另一侧的最大转角。


(三)四轮定位仪及使用方法

由于汽车行驶速度越来越高,汽车的操纵稳定性对行车安全影响越来越大。有些汽车,尤其是汽车不仅具有前轮定位,还具有后轮外倾角和后轮前束等定位参数。如果能对汽车四轮定位参数进行检测,不仅能确定所有车轮定位正确与否,还能确定前轴、后轴、悬架、车架等的技术状况,为底盘不解体诊断提供可靠依据。所以四轮定位仪使用越来越广泛。

四轮定位仪是专门用来测量车轮定位参数的设备。四轮定位仪可检测的项目包括:前轮前束、前轮外倾角、主销后倾角、主销内倾角、后轮前束、后轮外倾角、轮距、轴距、推力角和左右轴距差等。

目前使用的四轮定位仪有光学式和电脑式,它们的测量原理基本是一致的,但不同类型的四轮定位仪的使用方法有一定的差异,因此应严格按使用说明书的要求和方法进行操作。

下面以电脑式四轮定位仪为例,说明四轮定位仪的使用方法。

电脑式四轮定位仪由主机、显示器、打印机、前后车轮检测传感器、传感器支架、转盘、刹车锁、转向盘锁及导线等零件构成。配有专用软件和数据光盘,可读取近10年来世界各地汽车四轮定位参数,且可更新。还配有数码视频图像数据库,显示检查和调整位置等。

为便于检测和调整,被检汽车需放在地沟上或举升平台上,地沟或举升平台应处于水平状态,四轮定位仪则安装在地沟两旁或举升平台上,图3-8是四轮定位仪安装在举升平台上的情况。


1.检测前的准备

(1)把汽车开上举升平台,托住车轮,把汽车举升0.5m(第一次举升)。

(2)托住车身,把汽车举升至车轮能自由转动(第二次举升)。

(3)拆下各车轮,检查轮胎磨损情况,要求各轮胎磨损基本一致。

(4)检查轮胎气压,使其符合标准值。

(5)作车轮动平衡试验,动平衡完成后,将车轮装回车上。

(6)检查车身高度,检查车身四个角的高度和减振器技术状况,如车身不平应先调平,同时检查转向系统和悬架是否松旷,如松旷则应先紧固或更换零件。

图3-8;四轮定位仪安装在举升平台上

2.检测步骤

(1)把传感器支架安装在轮辋上,再把传感器(定位校正头)安装到支架上,并按使用说明书的规定调整。

(2)开电脑主机进入测试程序,输入被测汽车的车型和生产年份。

(3)进行轮辋变形补偿,转向盘位于直驶位置,使每个车轮旋转一周,即可把轮辋变形误差输入电脑。

(4)降下第二次举升量,使车轮落到平台上,把汽车前部和后部向下压动4~5次,使各部位落到实处。

(5)用刹车锁压下制动踏板,使汽车处于制动状态。

(6)将转向盘左转至电脑显示“OK”,输入左转角度数;然后将转向盘右转至电脑显示“OK”,输入右转角度数。

(7)将转向盘回正,电脑显示出后轮的前束及外倾角数值。

(8)调下转向盘,并用转向盘锁锁止转向盘,使之不能转动。

(9)将安装在四个车轮上的定位校正头的水平仪调到水平线上,此时电脑显示出转向轮的主销后倾角、主销内倾角、转向轮外倾角和前束的数值。电脑将比较各测量数值,得出“无偏差”、“在允许范围内”或“超出允许范围”的结论。

(10)若“超出允许范围”,按电脑提示的调整方法进行针对性调整。调整后仍不能解决问题,则应更换有关零部件。

(11)再次压试汽车,将转向轮左右转动,观察屏幕上数值有无变化,若有变化应重新调整。

(12)拆下定位校正头和支架,进行路试,检查四轮定位调整的效果。


转向盘自由行程和转向阻力的检测

转向盘自由行程,是指汽车转向轮保持直线行驶位置静止不动时,转动转向盘所测得的游动角度。转向盘的转向力,是指在一定行驶条件下,作用在转向盘外缘的圆周力。这两个参数主要用来诊断转向系中各零件的配合状况。该配合状况直接影响到汽车的操纵稳定性和行车安全。因此,对于新车和在用车都必须对其进行该两项参数的检测。

(一)转向盘自由行程的检测

转向盘自由行程采用专用检测仪进行检测。简易的转向盘自由行程检测仪如图3-9所示,主要由刻度盘和指针组成。刻度和指针分别固定在转向盘轴管和转向盘边缘上。固定方式有机械式和磁力式两种。

图3-9;简易的转向盘自由行程检测仪

a)检测仪的安装;b)检测仪1-指针;2-夹盘;3-刻度盘;4-弹簧;5-连接板;6-固定螺钉

测量时,应使汽车的两转向轮处于直线行驶位置不动,轻轻向左(或向右)转动转向盘至空行程一侧的极端位置(感到有阻力),调整指针指向刻度盘零度。然后,再轻轻转动转向盘至另一侧空行程极端位置,指针所示刻度即为转向盘的自由行程。


(二)转向盘转向阻力的检测

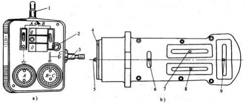
转向盘转向阻力采用转向参数测量仪或转向力角仪进行检测。国产ZC-2型转向参数测量仪如图3-10;所示,是以微机为核心的智能仪器,可测得转向盘自由转向量和转向力。该仪器由操纵盘、主机箱、连接叉和定位杆四部分组成,。操纵盘由螺钉固定在三爪底板上,底板经力矩传感器与三个连接叉相连,每个连接叉上都有一只可伸缩长度的活动卡爪,以便与被测转向盘相连接。主机箱为一圆形结构,固定在底板中央,其内装有口板、微机板、转角编码器、打印机、力矩传感器和电池等。定位杆从底板下伸出,经磁力座吸附在驾驶室内的仪表盘上。定位杆的内端连接有光电装置,光电装置装在主机箱内的下部。

测量时,把转向参数测量仪对准被测转向盘中心,调整好三个连接叉上伸缩卡爪的长度,与转向盘连接并固定好。转动操纵盘,转向力通过底板、力矩传感器、连接叉传递到被测转向盘上,使转向盘转动以实现汽车转向。此时,力矩传感器将转向力矩转变成电信号,而定位杆内端连接的光电装置则将转角的变化转变成电信号。这两种电信号由微机自动完成数据采集、转角编码、运算、分析、存储、显示和打印。因此,使用该测量仪既可测得转向盘的转向力,又可测得转向盘的自由转动量。

图3-10ZC-2型转向参数测量仪

1-定位杆;2-固定螺钉;3-电源开关;4-电压表;5-主机箱;6-连接叉;7-操纵盘;8-打印机;9-显示器

转向力角仪与转向参数测量仪结构类似,一般都是具有检测转向盘转向力和转向角的功能,所以也完全可以用来检测转向盘的自由转动量。

上一篇: 15万左右的大众suv推荐,大众suv车型大全10万一15万

下一篇: 汽车的进气压力传感器坏了有什么现象,车辆进气压力传感器坏了会出现什么故障

精彩推荐

车主都在看